山东001在线

 找回密码
 立即注册
搜索
查看: 785|回复: 0

什么是底盘调校?四轮定位参数之束角篇

[复制链接]

该用户从未签到

发表于 2019-9-21 08:58:55 | |阅读模式
作者:今日头条
系列关联文章:
什么是底盘调校?四轮定位之倾角篇
什么是底盘调校?四轮定位之主销篇
束角是指从车身正上方向下看车轮所成的角度。束角叫Toe,和脚趾同义。我们可以把我们两个脚板当左两边的轮胎。脚掌向前成“八”字就是外束角Toe Out,脚掌张开脚趾并拢成内“八”字就是内束角 Toe In。究竟束角有什么玄妙的东西,我们又怎样调节,在设定时有什么要注意的呢,这里就和大家研究一下。
倾角是为了过弯的抓地面积服务,而束角就是为调整车轮的滚动趋势和改变阻力方向从而改变汽车的行驶特性。一般来说,束角为0度时前进的滚动阻力最小,外束角和内束角的滚动阻力稍大。外束角由于是两轮会有向外拉扯的趋势,因此当单一侧的抓地力不平均时有跑偏的趋势,内束角由于两轮的滚动趋势均有分力指向车身中间,因此直线行驶比较不容易跑偏。一般而言,汽车的后轮都不是转向轮,因此为了保持直线行驶的稳定性,后轮都会设置偏向内束角的设定。而内束角越大,直线行驶稳定性就越高,但行驶阻力和轮胎偏磨的缺点也就更明显。

什么是底盘调校?四轮定位参数之束角篇-1.jpg




图:左图车轮向前指向重心的就是内束角Toe In,车轮指向外则的就是外束角Toe Out,车轮平行的就是没有束角。

什么是底盘调校?四轮定位参数之束角篇-2.jpg




图:Toe In的车轮行驶方向会有向中心的趋势,因此直线行驶较稳定。Toe Out的车轮有向外的趋势,因此会在转弯上表现较好。
不过前轮的状况就有点不一样。由于汽车并不是只会直线行驶而是要转弯的。当汽车转弯时,由于两侧的车轮行驶的轨迹不一样,因此行驶半径也不一样,两侧的行驶阻力也不一样。外侧车轮行驶半径比内侧车轮更大,行驶轨迹也更长,所需要转向的角度也比内侧车轮更小。因此如果将前轮设定成Toe Out的设定,虽然直线的行驶稳定性不及0度束角和内束角,但弯道上的行驶阻力更小,轮胎的抓地力更好发挥,车头也更容易进弯且弯中表现更稳定。内束角由于弯中的轮胎滑动更厉害,因此在弯中表现相当敏感,且更倾向于推头。

什么是底盘调校?四轮定位参数之束角篇-3.jpg




图:前轮驱动车一般都会有转向不足的特性,转向轮适当设置Toe Out可以有一定的改善。

什么是底盘调校?四轮定位参数之束角篇-4.jpg




图:后轮驱动车因为有转向过度的趋势,前后轮均设置TOE IN会提升直线的稳定性。

什么是底盘调校?四轮定位参数之束角篇-5.jpg




图:后轮呈现Toe In的状态,直线行驶车尾比较安定。而前轮Toe Out会比较愿意入弯,弯中的控制也比较稳定,不过直线行驶时阻力会比0度束角和Toe In大,且比较容易偏航。
假如在弯中感觉车尾不稳定可以稍微增加内束角,车尾太迟钝可以稍微增加外束角。而车头如果太敏感且不愿意进弯可以稍微增加一点外束角,如果直线行驶车头不稳定则可以稍微增加一点内束角。而后驱车由于有转向过度的倾向,后轮的内束角会比前驱车更大。而前驱车倾向于推头,因此车头的外束角会比后驱车型稍大。而对于某些特殊用途的赛车(如飘移车),车头会设置成Toe Out,在横滑的过程中能够有更好的控制力。

什么是底盘调校?四轮定位参数之束角篇-6.jpg




图:一般的汽车调节前束角可以通过转向拉杆进行有限度的调节。

什么是底盘调校?四轮定位参数之束角篇-7.jpg




图:后轮束角原厂车只能通过偏心螺丝进行调节。

什么是底盘调校?四轮定位参数之束角篇-8.jpg




图:如果要配合其他部分作较大的调整就需要使用可调式的拉杆,只有对悬挂部分有专业调校需求的才会使用。
大部分车型调节前束角都可以使用转向节进行调节,后轮则可以通过可调的束角拉杆调节。值得一提的是,汽车调节倾角或者调节车身高度以后,束角也会发生变化,需要同步调整。而前轮倾角较大的车辆,可以使用适当的Toe Out修正车轮滚动的方向,让进弯反应更敏锐。
阿卡曼角Ackerman
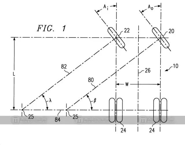
上一章说过,转向轮的内束角直线行驶会比较稳定,而外束角转弯的性能会更高。实际上左右车轮在行驶时围绕圆心经过的半径不一样,因此转向轮需要的转向角度也不同。而且随着弯道半径越小,转向轮需要转向更大的角度,内外两侧转向轮所行驶的半径差异就更大,因此两个车轮所呈现的外束角也需要更大才能提供更好的过弯性能。而汽车设计师就利用转向的几何结构,让车子前轮转向时会产生越来越大的外束角。这个转向轮之间的角度就是阿卡曼角Ackerman。

什么是底盘调校?四轮定位参数之束角篇-9.jpg




图:因为左右车轮在行驶时围绕圆心经过的半径不一样,因此转向轮需要的转向角度也不同。

什么是底盘调校?四轮定位参数之束角篇-10.jpg




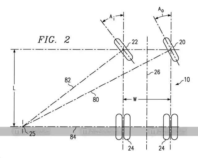
图:最佳的阿克曼角设置是前后轮的转向延长线的交点能落在后轴延长线上。

什么是底盘调校?四轮定位参数之束角篇-11.jpg




阿卡曼角在汽车转向特性上是相当重要的。由于车辆转弯时内外轮的行驶半径不同,Ackerman可以帮助两个前轮分别指向正确的行驶方向,以获取更多的抓地力。因此一般汽车转弯时,适当的阿卡曼角除了会增加转向的灵活性,还能缩小转向半径,降低转向时轮胎阻力因此降低轮胎的磨损,打方向盘的力度也会更轻一些。

什么是底盘调校?四轮定位参数之束角篇-12.jpg




图:适当的阿卡曼角能够增加前轮的抓地力和转向反应,减少打滑,在湿滑路面上效果比较明显。

什么是底盘调校?四轮定位参数之束角篇-13.jpg




图:飘移车为了在横滑中减少车头的阻力以获得更长的横滑距离,往往会将转向轮的阿克曼设置为0度。
合适的阿克曼角会让汽车的旋回性能提升,但是过大或过小的阿克曼角会导致转向变得迟钝。对于飘移车(又中枪)而言,阿克曼角会让车子在小角度时有更好的控制力,但大角度横滑反而会造成前轮横向阻力较大而容易造成调头的状况。因此某些车手会将阿克曼角调校成0度以获得更大的横滑距离。

什么是底盘调校?四轮定位参数之束角篇-14.jpg




图:调整车辆的阿克曼主要靠改变羊角上转向拉杆的连接位置决定。

什么是底盘调校?四轮定位参数之束角篇-15.jpg





什么是底盘调校?四轮定位参数之束角篇-16.jpg




图:专业的赛车会定制抓门的羊角以获得更理想的阿克曼角调校。
调节阿克曼主要是调整转向节和羊角上的连接球头位置决定。连接球头位置越往车身轴线内移,阿克曼会越大,反之越小。一般车型需要通过在羊角上安装连接件改变阿克曼角,某些品牌也会为某些特定车型推出改装用的羊角和球头以改变阿克曼的特性。

什么是底盘调校?四轮定位参数之束角篇-17.jpg




图:Bump Steer的特性是由摇臂和转向拉杆决定,转向拉杆越短Bump Steer越倾向外束角,反之越倾向内束角。一般汽车的Bump Steer都倾向内束角,刹车时便能更稳定而不容易跑偏。
当车子驶过不平路面时极不稳定甚至自动转向,刹车时不能直线刹停或减速而是左右摆动,很多人都怀疑是车子的束角发生问题。而其实这是由于束角拉杆安装的位置导致悬挂上下摆动时发生束角的变化,从而导致车子发生不稳定的情况,这就是Bump Steer。一般而言,所有的汽车都会设计产生一定的Bump Steer,大概2-10度/米左右,主要设计是刹车时前轮会产生Toe In从而更稳定。而由于Bump Steer在悬挂摆动角度不同时是不一样的,因此也会在倾侧时左右轮产生不同的偏转,设计师也会利用这个原理设计悬挂系统让车子在倾侧时产生Roll Steer的情况,很多后轮随动车辆就是利用这个原理让后轮偏转以帮助过弯。

什么是底盘调校?四轮定位参数之束角篇-18.jpg




图:降低车身比较厉害,转向拉杆就需要修正至水平角度。

什么是底盘调校?四轮定位参数之束角篇-19.jpg




图:修正的方式一般是将转向拉杆的球头下延,可以购买专用的球头。

什么是底盘调校?四轮定位参数之束角篇-20.jpg




图:这些Bump Steer修正套件均有多层的垫片,方便用家按照不同的设定选择修正量。
一般我们都不会刻意去调整Bump Steer的特性,不过对于一些车身降低了的车主,悬挂向上摆动了,束角拉杆也会向上摆动,束角和Bump Steer的特性都会改变,甚至会刹车时产生Toe Out。因此要让束角的Bump Steer特性恢复,就需要在束角拉杆/转向节和羊角安装的球头上使用修正零件。一些车型的转向球头(如丰田)是和下球头一体的,当使用滚动重心修正垫块的时候,转向球头位置也会一并修正,会相对较方便。
结论:Toe Out更愿意转弯,Toe In直线更稳定。外观看上去没大倾角帅,但实际效果影响非常大。车子转向和悬挂摆动都会发生束角的变化,调整过车高的朋友记得要做修正。

QQ|手机版|小黑屋|Archiver|山东001在线 ( ICP11027147 )

GMT+8, 2026-4-5 01:16 , Processed in 0.041860 second(s), 25 queries , Gzip On.

Powered by Discuz! X3.4

© 2001-2023 Discuz! Team.

快速回复 返回顶部 返回列表