山东001在线

 找回密码
 立即注册
搜索
查看: 1843|回复: 0

复刻RAZR刀锋手机?摩托罗拉新手机专利曝光:折叠屏元素加入

[复制链接]

该用户从未签到

发表于 2019-1-13 10:58:43 | |阅读模式
作者:今日头条
想要了解更多热门资讯、玩机技巧、科普深扒,可以点击右上角关注我们的头条号:雷科技

-----------------------------------

手机业内多家厂商有意发布折叠屏手机已经不是什么秘密,比如三星就信誓旦旦地表示旗下首款折叠屏手机会在明年亮相。除了三星之外,包括LG、华为、OPPO,乃至苹果和联想都曾透露对折叠屏手机有意,但具体的推出时间暂时未知。

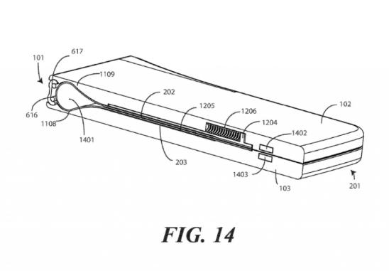
今天早上,据GSMArena报道,Mobielkopen在美国专利局的网站上发现了由摩托罗拉移动申请的折叠屏手机专利,而这份专利很可能揭露了摩托罗拉折叠屏手机的大致设计。

复刻RAZR刀锋手机?摩托罗拉新手机专利曝光:折叠屏元素加入-1.jpg



在摩托罗拉的构想中,折叠屏设备需要由铰链连接,屏幕可以对开折叠,机身就像此前翻盖手机一样对开翻折。很明显,这样的设计的目的是保证屏幕尺寸不缩水的情况下,减少了机身的体积。

复刻RAZR刀锋手机?摩托罗拉新手机专利曝光:折叠屏元素加入-2.jpg



复刻RAZR刀锋手机?摩托罗拉新手机专利曝光:折叠屏元素加入-3.jpg



除了折叠的实现方式之外,折叠屏手机还采用了Logo集成指纹的设计,而且机身风格扁平,让人想起一代经典翻盖手机RAZR V3。

实际上,联想公司CEO杨元庆在年初接受采访的时候表示,“凭借着新技术,尤其是折叠屏技术,你们将看到我们在智能手机上有着更多的创新”。尽管杨元庆没有正面回应是否会复刻RAZR V3这一款经典机型,但态度已经非常明确,那就是会发力折叠屏手机。

复刻RAZR刀锋手机?摩托罗拉新手机专利曝光:折叠屏元素加入-4.jpg



只不过此时传出的只是专利图,甚至不是产品的渲染图,摩托罗拉的折叠屏项目未得到任何曝光,具体手机会在何时推出也是一个谜。而三星就不一样,三星已经确认了折叠屏手机的推出时间,再加上此前的传闻,产品的完成度应该是诸多潜在折叠屏产品中最高的。

当下被认为是“新风口”的机遇不算少,包括5G换机潮,和折叠屏手机等,都被认为是下一个让市场格局发生改变的重要机遇。但现在市场寡头化严重,无论是技术还是资源都由领先集团把控,对于如摩托罗拉等追赶者来说,机会真的已经所剩无几。

--------------

马克龙可伸缩数据线

能伸能屈,小巧便携,可同时给多设备充电

点击“了解更多”,立刻带回家!

QQ|手机版|小黑屋|Archiver|山东001在线 ( ICP11027147 )

GMT+8, 2026-4-4 18:33 , Processed in 0.043553 second(s), 25 queries , Gzip On.

Powered by Discuz! X3.4

© 2001-2023 Discuz! Team.

快速回复 返回顶部 返回列表