山东001在线

 找回密码
 立即注册
搜索
查看: 872|回复: 0

川藏铁路全面开工,川藏高速全线接通待何时?

[复制链接]
  • TA的每日心情
    郁闷
    2018-2-22 13:59
  • 签到天数: 2 天

    [LV.1]初来乍到

    发表于 2022-10-26 23:08:14 | 显示全部楼层 |阅读模式
    作者:基建通
    11月21日,川藏铁路发布施工中标公示,详情链接:《川藏铁路三期中标!中国铁建792亿/中国中铁782亿/中国交建200亿》标志着川藏铁路雅林段全线开工!
    山区桥梁建设“世界看中国,中国看四川”。都说“此生必驾318”,走过318最美川藏线的人,一定会被沿途的风光所深深折服。
    318川藏公路的升级版,川藏高速,它来了!
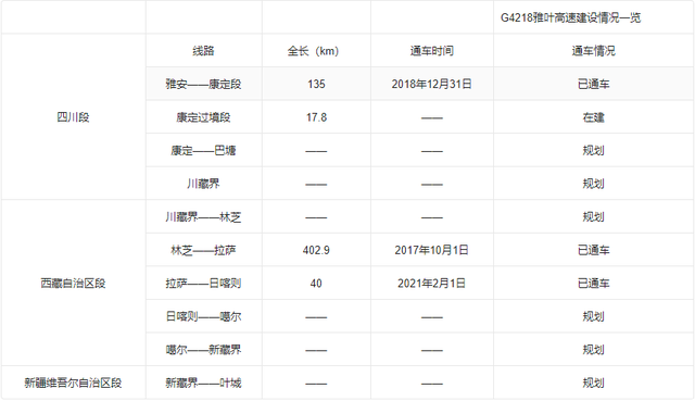
    川藏高速,目前规划有两条,分为南线和北线。川藏南线,就是G4218雅叶高速。川藏北线则是G4217蓉昌高速。
    川藏南线

    G4218雅叶高速由四川雅安至新疆叶城,主要经过:雅安-天全-泸定-康定-理塘-巴塘-芒康-八宿-林芝-拉萨-日喀则-噶尔-叶城。跨越四川、西藏、新疆三个省。该线路大致沿川藏公路(G318国道)和新藏公路(G219国道)一线。
    雅叶高速全长约3900公里,设计时速80-100公里,双向四车道,建设分阶段进行。第一阶段(2015-2035)建设雅安至日喀则段,第二阶段(2030-2040)建设日喀则至叶城段,除雅安至林芝段为收费段,其余规划为不收费的高等级快速公路,总投入资金预计超5000亿。
    雅叶高速全线桥隧占比高达80%以上,全线平均海拔3000米以上,最高海拔4500m,穿越整个青藏高原。由于川藏高速公路的复杂性,业内专家将其建设称作“攀登公路界的珠穆朗玛峰”。
    由于线路太长,雅叶高速被分成了多段进行:
    1、雅康高速,2018年底已通车运营
    全长135公里, 总投资230亿元。2018年年底全线通车。从成都开车3.5小时即可到达康定,时间缩短一半。
    这里诞生了“川藏第一桥”兴康特大桥。横跨泸定大渡河,全长1411米,跨径1100米,创下“六个第一”和“7个首次”。
    这里有史上最难开凿隧道“二郎山特长隧道”,长13.4千米,穿越13条地震断裂带,存在瓦斯、岩溶、涌突水等不良地质,斜井建设规模、隧道独头掘进居全国之最。
    2、康定-新都桥高速康定过境段,在建。预计2022年通车
    全长17.8公里,是海拔落差较大的一个阶梯,短短直线20多公里需要爬坡1000多米,线路设计需要多个回旋路线,而回旋段几乎都需要连续修建多条隧道来完成,其中跑马山1和2号隧道就长达16公里,进口和出口落差达220米,创世界之最。
    3、新都桥至理塘段,即将开工
    预计2023年底开工,目前设计方案从已确定使用中线方案,线路基本与318国道和川藏铁路平行方案,预计2026年完成。
    4、理塘至林芝段,即将开工
    目前设计方案已确定,2025年开始建设,计划于2035年前完成建造,该段是全线地质最复杂的路段,也是桥隧占比最高的一部分,根据设计方案,隧道就达50条,桥梁达到100多座,最长的隧道出现在色季拉山、通麦、易贡三条连续的超长隧道群,长达100多公里。
    5、林芝至拉萨段,2019年通车运营
    全长409公里,投资380亿元,耗时4年时间建成,是中国唯一不收费的高速。将两地的通行时间从8小时缩短至5小时以内。
    6、拉萨到日喀则机场公路,部分通车运营。预计2024年全线通车
    2月1日,G4218雅安至叶城国家高速公路拉萨至日喀则机场段公路新改建工程(控制性工程)拉萨段通车试运行。
    7、喀则至噶尔预备建设中,噶尔至叶城段为远期展望线。

    川藏铁路全面开工,川藏高速全线接通待何时?-1.jpg

    川藏北线

    G4217蓉昌高速公路规划里程约1086公里,途径线路:成都-郫都-都江堰-汶川-理县-马尔康-炉霍-甘孜-德格-西藏(江达)。
    蓉昌高速主线设置桥梁121座、隧道32座,桥隧比高达86.5%,为四川已建成桥隧比最高的高速公路。特别是从理县再往西走,出了隧道就是桥,穿过桥又是隧道,一路脚不沾地,“腾云驾雾”。

    川藏铁路全面开工,川藏高速全线接通待何时?-2.jpg

    与南线一样,北线也被分成多段建设:
    1、成灌高速公路,2000年已通车运营
    全长40.439km,由成都至都江堰。
    2、都汶高速公路,2012年已通车运营
    全长82公里,始于都江堰,止于阿坝州汶川县,2012年底通车。受制于复杂的地形条件,多发的地质灾害,都汶高速时常发生拥堵,并因地质灾害发生断道。
    目前,阿坝州正在规划进入汶川的第二条高速公路,成汶高速全长106公里,分两期建设。I期工程起点为成都第二绕城高速至彭州市通济段,全长51公里;II期工程为彭州市通济至汶川县段,全长55公里。
    3、汶马高速公路,2020年已通车运营
    汶川至马尔康段全长172公里,翻越2000米高差,穿越三条地震断裂带,破解数十项技术难题。
    这里有被号称为全线“最难啃的骨头”狮子坪特长隧道,长达13.15公里,是全国涉藏地区及高原高寒最长的高速公路特长隧道。也有鹧鸪山隧道,8.8公里,海拔高达3200米,空气稀薄,仅为海平面的60%,是全线施工海拔最高点,耗时6年才全面贯通。
    4、马尔康至德格段,前期规划中
    其中马尔康至阿坝甘孜州界高速公路规划预可研已通过。
    甘孜段规划中(阿坝甘孜州界—炉霍—甘孜—德格—岗托段)。
    5、德格(岗托)到昌都段,规划中。
    从雅康高速13.4公里的二郎山特长隧道,到创造了6个首次、7个第一的川藏第一桥“兴康特大桥”,从康定过境段世界进出口高差最大的跑马山1号隧道,到背着氧气瓶也要打通的拉林高速米拉山隧道,一代又一代筑路人历经千辛万险,攻克重重难关,只为那一条条通向青藏高原的康庄大道。
    从川藏公路到川藏高速再到川藏铁路,雪山见证“通途”之变,高原再造“天路”奇迹。
    按照规划,G4218雅叶高速第一阶段和G2417蓉昌高速,在2035年前与川藏铁路几乎同步建成,届时,进出西藏将变得无比容易,西藏的神秘面纱也将使越来越多的人了解到。让我们一起期待吧!

    原文地址:https://m.toutiao.com/i7037403100616966667/
    您需要登录后才可以回帖 登录 | 立即注册

    本版积分规则

    QQ|手机版|小黑屋|Archiver|山东001在线 ( ICP11027147 )

    GMT+8, 2026-4-5 08:15 , Processed in 0.040012 second(s), 22 queries , Gzip On.

    Powered by Discuz! X3.4

    © 2001-2023 Discuz! Team.

    快速回复 返回顶部 返回列表